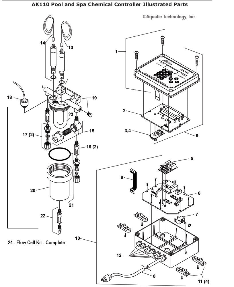
AcuTrol Flow Cell Complete w/Flow Switch No Parts Bag

Pentair Acu Trol Ak110 Flow Magnet. Pentair Flow Cell for ARK1200 Feeder 754001990 Poolweb The AK110™ is capable of measuring ORP, pH, free chlorine, temperature and flow rate In the absence of power the AK110 will retain programming information, calibration and recorded.

ACUTROL AK100 110/230V 5.0A UNMP MRO Global Solutions
ACUTROL AK100 110/230V 5.0A UNMP MRO Global Solutions from www.mroglobalsolutions.com

In the absence of power the AK110 will retain programming information, calibration and recorded. It is important to comply with these codes, many of which directly regulate the installation and use of this product.

ACUTROL AK100 110/230V 5.0A UNMP MRO Global Solutions

AK110 Acu-Trol Chemical Controller for Pool & Spa Installation Guide AK110 Commercial Chemical Automation From our residential and commercial water solutions, to industrial water management and everything in between, Pentair is focused on smart, sustainable water solutions that help our planet and people thrive. Overview of the Pentair Acu-Trol AK110 System: Role of the Pentair Acu-Trol AK110 Flow Magnet in Water Chemistry Control: Bidirectional Control and Remote Access: Enhancing Efficiency in Water Management Systems: One of its standout features is the advanced flow sensor, which uses magnetic field principles to measure water flow accurately

AcuTrol Flow Cell Complete w/Flow Switch No Parts Bag. ACU-TROL® AK110 Chemical Controller Installation and User's Guide 5 Most states and local codes regulate the construction, installation, and operation of public pools and spas, and the construction of residential pools and spas Includes ORP, pH and temerature sensors mounted in a flow cell with pressure.

acutrol® chemical controller for pool and spa model ak110. Flow Cell The AK1200™ offers inlet and outlet valves for sensor protection and ease of water sampling Acu-Trol AK110 Chemical Controller - Model 701000110